1. Giới thiệu
Module 6MBP30RH060 là một IGBT Intelligent Power Module (IPM) công suất nhỏ – trung bình, thường được sử dụng trong các mạch biến tần, điều khiển động cơ và nguồn công nghiệp. Module có khả năng chịu điện áp 600V và dòng định mức 30A, phù hợp cho các ứng dụng điều khiển động cơ 3 pha, servo hoặc quạt công nghiệp. Phiên bản “tháo máy” thường được lấy từ thiết bị đã qua sử dụng, vẫn có thể tái sử dụng nếu linh kiện còn hoạt động tốt.

2. Đặc điểm nổi bật
-
Tích hợp 6 transistor IGBT và 6 diode hồi tiếp (freewheel diode) trong cùng một mô-đun.
-
Có mạch bảo vệ nội bộ: bảo vệ quá dòng, quá nhiệt và điện áp thấp.
-
Hiệu suất chuyển mạch cao, giúp giảm tổn hao năng lượng và nhiệt lượng.
-
Thiết kế Intelligent Power Module (IPM) giúp đơn giản hóa mạch điều khiển.
-
Dạng mô-đun nhỏ gọn, có tấm đế kim loại tản nhiệt tốt.
-
Độ ổn định cao, phù hợp cho vận hành lâu dài trong môi trường công nghiệp.
3. Thông số kỹ thuật chính
-
Model: 6MBP30RH060
-
Cấu trúc: 3-phase inverter (6 IGBT + 6 diode + mạch điều khiển & bảo vệ)
-
Dòng cực đại (Collector Current): 30A
-
Điện áp chịu đựng cực đại (Collector-Emitter Voltage): 600V
-
Điện áp điều khiển (Gate-Emitter Voltage): ±20V
-
Điện áp cấp nguồn điều khiển: 15V (điển hình)
-
Tần số chuyển mạch: khoảng 10–20kHz
-
Nhiệt độ hoạt động: -20°C đến +125°C
-
Mạch bảo vệ tích hợp:
-
Quá dòng (Overcurrent Protection – OCP)
-
Quá nhiệt (Overtemperature Protection – OTP)
-
Điện áp thấp (Undervoltage Lockout – UVLO)
-
-
Kiểu vỏ: Mô-đun nhựa có đế kim loại (tản nhiệt hiệu quả)
-
Trọng lượng: khoảng 150–250g

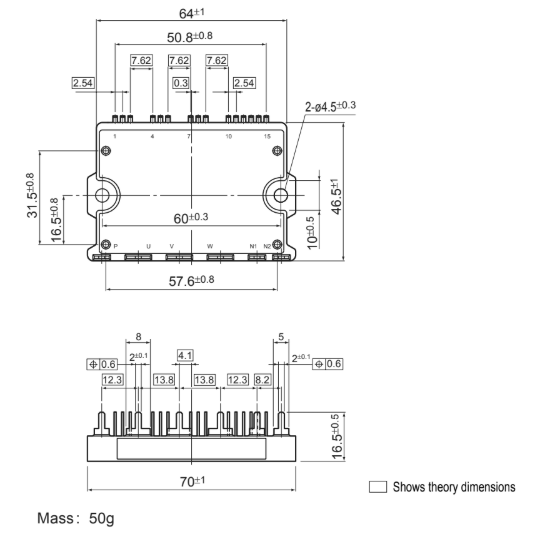
4. Kích thước

5. Ứng dụng
-
Biến tần điều khiển động cơ ba pha công suất nhỏ và trung bình.
-
Hệ thống servo trong máy công nghiệp, máy CNC, robot, máy dệt.
-
Bộ lưu điện (UPS), nguồn chuyển đổi DC–AC.
-
Hệ thống điều hòa không khí, máy nén, quạt công nghiệp.
-
Thiết bị tự động hóa, điều khiển tốc độ động cơ.
Xem thêm các mã IGBT khác tại đây

Đánh giá
Chưa có đánh giá nào.